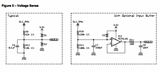
24V低壓檢測電路


當電壓采樣速率低和要求低時,左邊電路圖即可滿足;當采樣速率和精度要求比較高時,采用右邊電路。


Vin=24V低壓檢測電路,將24V轉換到0-3V3之間,實測效果挺好的,電阻使用1%的精度。
〈烜芯微/XXW〉專業制造二極管,三極管,MOS管,橋堆等,20年,工廠直銷省20%,上萬家電路電器生產企業選用,專業的工程師幫您穩定好每一批產品,如果您有遇到什么需要幫助解決的,可以直接聯系下方的聯系號碼或加QQ/微信,由我們的銷售經理給您精準的報價以及產品介紹
聯系號碼:18923864027(同微信)
QQ:709211280