一、無線充電技術概述
當前,無線充電技術主要依托于發送端與接收端的線圈交互。當發送端線圈通電時,會在周圍空間產生電磁信號,接收端線圈捕捉到這些電磁信號后,將其高效轉化為電流,從而實現精準的無線充電功能。
二、電磁感應式無線充電原理


電磁感應式無線充電技術的工作機制與變壓器原理高度相似。系統中,發送端線圈相當于變壓器的初級線圈,當其通有一定頻率的交流電時,在接收端線圈(次級線圈)中會因電磁感應產生電流,進而實現能量從發送端到接收端的高效轉移。
三、磁共振式無線充電原理


磁共振式無線充電技術則基于兩個相同頻率諧振回路的強耦合電磁場。該系統利用發射線圈與接收線圈組成的諧振回路,實現能量在兩個回路間的高效交互。
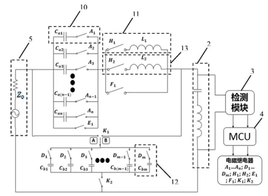
四、無線充電器電路架構


無線充電器電路主要由基本模塊(發送模塊)和接收模塊構成。發送模塊中,基礎繞組通常采用尺寸較大的鐵氧體 E 芯,線軸纏繞 100 匝 24 SWG 超級漆包銅線。從繞組第 50 匝引出中心抽頭,與由晶體管 T1、預設 P1 及相應電阻、電容構成的振蕩電路連接。預設 P1 用于優化繞組頻率,需通過實驗確定最佳參數。通過整流和濾波將交流市電轉為直流電壓,饋入電路驅動振蕩。
接收模塊包含由空芯 50 匝 21 SWG 超級漆包銅線構成的電感,作為接收天線捕捉發送模塊釋放的功率波。可變電容 C3 用于調整接收頻率,使其與發射波匹配,提升輸出電壓穩定性。二極管 D6 和電容 C4 擔任整流角色,將交流信號轉為直流,為鋰離子電池充電。輸出端可接 LED,實時顯示無線電力傳輸強度。
〈烜芯微/XXW〉專業制造二極管,三極管,MOS管,橋堆等,20年,工廠直銷省20%,上萬家電路電器生產企業選用,專業的工程師幫您穩定好每一批產品,如果您有遇到什么需要幫助解決的,可以直接聯系下方的聯系號碼或加QQ/微信,由我們的銷售經理給您精準的報價以及產品介紹
聯系號碼:18923864027(同微信)
QQ:709211280