可控硅由關斷轉為導通,除陽極要承受正向電壓外,門極還要加上適當的觸發電壓,改變觸發脈沖輸出時刻便可達到改變輸出直流電壓的目的。為門極提供觸發電壓和電流的電路叫觸發電路。
在設計可控硅(SCR)觸發電路時,可控硅(SCR)整個區域的運行很大程度上取決于其觸發方式。
在進行電路設計時,需要特別注意確保沒有誤觸發,同時確保晶閘管在需要時觸發。
在可控硅(SCR)觸發中,包括柵極驅動要求(如果使用柵極觸發)、觸發時間(需要保持所施加的觸發激勵時間以使電路鎖存)等各個方面都很重要,各種參數的重要性取決于所使用的可控硅( SCR )觸發形式。
單結晶體管觸發電路
單結晶體管是一種特殊的半導體元件,它有3個電極(一個發射極和兩個基極),故又稱雙基極二極管。利用單結晶體管的負阻特性及電容的充、放電特性可組成單結晶體管自激振蕩電路。如下圖所示。.


假定在接通直流電源Ubb之前電容C上沒有電壓,一旦接通Ubb,電源立即通過可變電阻R對電容C充電,電容兩端電壓按指數函數規律增長。當uc=UP時,單結晶體管導通,于是電容 C就向輸出電阻R1放電。
由于R1很小(50~100Ω),所以放電非常快,并在輸出電阻的電壓波形圖上形成尖脈沖電壓。當uc下降到谷點電壓Uv之后,單結晶體管截止,發射極電流幾乎為零,輸出尖脈沖停止,電容C再次充電。如此周而復始,在電容C上形成了鋸齒波,在輸出端R1的電壓波形圖上形成了一系列尖脈沖。
改變可變電阻R或電容C,均能改變脈沖的輸出時刻,但一般都是通過改變R實現,因為改變R容易且投資小。
一般C值取0.1~0.47μF,C值太小會造成觸發功率不夠,過大則最小控制角增大,移相范圍變小。
R1在50~100Ω之間取值為宜,R1值太小,則放電太快,脈沖太窄且幅度小,不利于觸發可控硅;R1值太大,有可能由于流過未導通單結晶體管的漏電流在R1上產生的“殘壓”太大,而導致可控硅誤導通。
因峰點電壓UP=ηUbb+UV,分壓比η不隨溫度的變化而變化,但UV隨溫度的上升而下降,所以峰點電壓隨溫度的上升而下降,這會引起UP不穩定而影響控制角。在電路中接入不隨溫度變化的電阻R2,當溫度升高時,UV值雖然下降,而rbb卻增大,電流Ibb=E/(R1+R2+rbb)減小,R1、R2上的電壓降相應減小,而E為恒定值,于是Ubb=E-(UR1+UR2)增大,以ηUbb的增加來補償UV的減小,從而維持UP不變,使觸發電路工作點基本穩定不變。R2一般取值200~600Ω。
雙向可控硅觸發電路圖


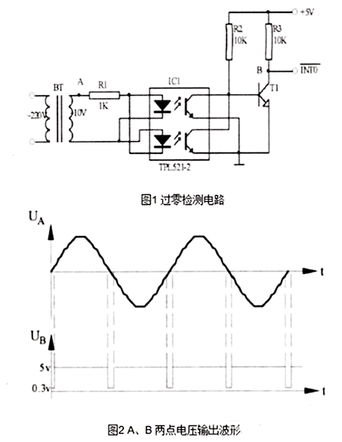
為了提高效率,使觸發脈沖與交流電壓同步,要求每隔半個交流電的周期輸出一個觸發脈沖,且觸發脈沖電壓應大于4V,脈沖寬度應大于20us.圖中BT為變壓器,TPL521-2為光電耦合器,起隔離作用。當正弦交流電壓接近零時,光電耦合器的兩個發光二極管截止,三極管T1基極的偏置電阻電位使之導通,產生負脈沖信號,T1的輸出端接到單片機80C51的外部中斷0的輸入引腳,以引起中斷。在中斷服務子程序中使用定時器累計移相時間,然后發出雙向可控硅的同步觸發信號。過零檢測電路A、B兩點電壓輸出波形如圖2所示。
〈烜芯微/XXW〉專業制造二極管,三極管,MOS管,橋堆等,20年,工廠直銷省20%,上萬家電路電器生產企業選用,專業的工程師幫您穩定好每一批產品,如果您有遇到什么需要幫助解決的,可以直接聯系下方的聯系號碼或加QQ/微信,由我們的銷售經理給您精準的報價以及產品介紹
聯系號碼:18923864027(同微信)
QQ:709211280