運放的輸入失調電壓和輸入失調電流
輸入失調電壓(Vos)
如果運放兩個輸入端上的電壓均為 0V,則輸出端電壓也應該等于 0V。但事實上,輸出端總有一些電壓,該電壓稱為失調電壓 VOS。
如果將輸出端的失調電壓除以電路的噪聲增益,得到結果稱為輸入失調電壓或輸入參考失調電壓。這個特性在數據表中通常以 VOS給出。VOS被等效成一個與運放反相輸入端串聯的電壓源。必須對放大器的兩個輸入端施加差分電壓,以產生 0V 輸出。
溫度漂移(Drift)
Vos隨著溫度的變化而改變,這種現象稱為漂移,漂移的大小隨時間而變化。漂移的溫度系數TCVos通常會在數據表中給出,但一些運放數據表僅提供可保證器件在工作溫度范圍內安全工作的第二大或者最大的Vos。這種規范的可信度稍差,因為TCVos可能是不恒定的,或者是非單調變化的。
Vos漂移或者老化通常以mv/月或者mV/1000小時來定義。但這個非線性函數與器件已使用時間的平方根成正比。例如,老化速度1mV/1000小時可轉化為大約3mV/年,而不是9mV/年。老化速度并不總是在數據表中給出,即使是高精度運放。
輸入偏置電流(Ibs)
理想運放的輸入阻抗無窮大,因此不會有電流流入輸入端,但是,在輸入級中使用雙極結型晶體管(BJT)的真實運放需要一些工作電流,該電流稱為偏置電流(IB)。
通常有兩個偏置電流:IB+和IB-,它們分別流入兩個輸入端。IB值的范圍很大,特殊類型運放的偏置電流低至60fA(大約每3us通過一個電子),而一些高速運放的偏置電流可高達幾十mA。
輸入失調電流(Ios)
單片運放的制造工藝趨于使電壓反饋運放的兩個偏置電流相等,但不能保證兩個偏置電流相等。但不能保證兩個偏置電流相等。在電流反饋運放中,輸入端的不對稱特性意味著兩個偏置電流幾乎總是不相等的。這兩個偏置電流之差為輸入失調電流Ios,通常情況下Ios很小。

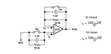
對于失調電壓,一般是設置一個很大的增益并且把輸入短接。這時候的輸出電壓除以增益就是失調電壓的大小。

對于失調電流,則是用一個很大的電阻接在反饋回路上。S1閉合時,測同相端的偏流Ip,S2閉合的時候測反相端的偏流In。

這里的“失調”電流測法實際上測得的是“偏置電流”而非“失調電流”,當然,分別測出了+-端的“偏置電流”后,也可以得知“失調電流”----等于二者的差。
上面具體例子中的電阻值選取對于有些情況不太合適,一般運放的偏置電流只有若干nA數量級,如果采用10M電阻,那么由于偏置電流造成的輸出電壓只有若干mV,而且此時還包括了“失調電壓”的影響(偏大或偏小都有可能,具體取決于失調電壓的極性)。
所以,測量nA量級的偏置電流,電阻還得取大些,使Ibias*R達到v級,此時也不用扣除失調電壓的影響了(5mv的失調電壓對1v的輸出電壓來說,對測量結果的影響只有0.5%)。
運放的輸入失調電壓電流怎么計算
輸入失調電壓VIO
一個理想的運放,當輸入電壓為零時,輸出電壓也應為零(不加調零裝置)。但實際上它的差分輸入級很難做到完全對稱,通常在輸入電壓為零時,存在一定的輸出電壓,該電壓稱為失調電壓VIO。
在室溫(25℃)及標準電源電壓下,輸入電壓為零時,為了使運放的輸出電壓為零,在輸入端加的補償電壓即失調電壓VIO。實際上指輸入電壓Vi=0時,輸出電壓Vo折合到輸入端的電壓的負值,Vio被等效成一個與運放反相輸入端串聯的電壓源。
必須對放大器的兩個輸入端施加差分電壓,以產生0V輸出。即
Vio=-(Vo│v=0)/Avo
Vio的大小反應了運放制造中電路的對稱程度和電位配合情況。Vio值愈大,說明電路的對稱程度愈差,一般約為±(1~10)mV。
Vio隨著溫度的變化而改變,這種現象稱為漂移,漂移的大小隨時間而變化。漂移的溫度系數TCVio通常會在數據表中給出,但一些運放數據表僅提供可保證器件在工作溫度范圍內安全工作的第二大或者最大的Vio。這種規范的可信度稍差,因為TCVio可能是不恒定的,或者是非單調變化的。
Vio漂移或者老化通常以mV/月或者mV/1,000小時來定義。但這個非線性函數與器件已使用時間的平方根成正比。例如,老化速度1mV/1,000小時可轉化為大約3mV/年,而不是9mV/年。老化速度并不總是在數據表中給出,即便是高精度運放。
輸入失調電流Ιio
在BJT集成電路運放中,由于制造工藝趨于使電壓反饋運放的兩個偏置電流相等,但不能保證兩個偏置電流相等。在電流反饋運放中,輸入端的不對稱特性意味著兩個偏置電流幾乎總是不相等的。
這兩個偏置電流之差為輸入失調電流Ιio,輸入失調電流 offset current, 是指兩個差分輸入端偏置電流的誤差,即當輸出電壓為零時流入放大器兩輸入端的靜態基極電流之差,即
Iio=│Ibp-Ibn│
由于信號源內阻的存在,Iio會引起一輸入電壓,破壞放大器的平衡,使放大器輸出電壓不為零。所以,希望Iio愈小愈好,它反映了輸入級有效差分對管的不對稱程度,一般約為1 nA~0.1 mA.
〈烜芯微/XXW〉專業制造二極管,三極管,MOS管,橋堆等,20年,工廠直銷省20%,上萬家電路電器生產企業選用,專業的工程師幫您穩定好每一批產品,如果您有遇到什么需要幫助解決的,可以直接聯系下方的聯系號碼或加QQ/微信,由我們的銷售經理給您精準的報價以及產品介紹
聯系號碼:18923864027(同微信)
QQ:709211280